采美网 采美网 2025-11-11 10:22:02 1324
此前报道,国家药监局已发布了关于医疗器械管理的公告以及相关规定,自2022年3月起,射频治疗仪、射频皮肤治疗仪类产品被明确纳入第三类医疗器械管理范畴。
2024年7月8日,国家药品监督管理局发布《关于进一步明确射频治疗仪类产品有关要求的公告(2024年第84号)》,公告中明确,自2026年4月1日起,《关于调整〈医疗器械分类目录〉部分内容的公告》(2022年第30号)附件中09-07-02射频治疗(非消融)设备中射频治疗仪、射频皮肤治疗仪类产品,未依法取得医疗器械注册证的,不得生产、进口和销售。
国家药监局对射频类医美设备严格按三类器械管理,核心是出于对公众安全的高度负责。它标志着医美行业"野蛮生长"时代的结束,未来只有那些坚守合规经营和产品质量的企业,才能赢得市场的长久信任。

国家对医美设备监管的加强,是对近年来医美行业快速发展过程中暴露出的种种乱象的回应。国家药监局近年来对医美设备,特别是射频类设备的管理日趋严格,其核心目的是为了保障公众的用械安全,遏制医美行业的市场乱象。这些设备被要求按照第三类医疗器械(最高风险级别) 进行管理,主要是基于其潜在的高风险性。
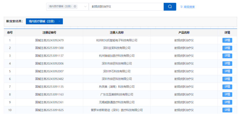
从国家药监局获悉,国家药监局在今年发布了数则公告公布获批医疗器械注册证的目录明细。发现,其中包括众多境内境外厂商设备,有获批二类医疗器械注册证的也有获批三类医疗器械注册证的。其中注意到不少家用类射频设备也被纳入三类医疗器械管理范畴。


那么,大家比较关注的是在医美领域到底有哪些厂商获得了三类医疗器械注册证。
·家用线的有:深圳宇石科技、深圳市宗匠科技(获得2张三类证)、杭州时光机智能电子科技、杭州瑞彼加医疗、深圳金茉科技、广东花至美容、普罗米修斯奇迹(深圳)医疗科技。
·医用线的有:半岛医疗、热芙美(湖南)、无锡脉通医疗获得了三类医疗器械证。
最近引起市场关注度比较高的则是,半岛医疗公司旗下的半岛逆时针获批国产射频微针首个“械三证”。更加引起业内关注的是,半岛医疗也率先获得了聚焦超声类设备仪器三类医疗器械证!
半岛医疗射频设备获证:

半岛医疗聚焦超声设备治疗仪获证:

热芙美(湖南)射频仪器获证:

无锡威脉通医疗射频仪器获证:

采美365网-医美采购平台-生美采购平台-美业一站式正品采购平台 采美网-采美信息中心
—END—

关注采美采购商城
了解更多商品信息
相关阅读
美业动态 | 超清秀销量与口碑双冠:以技术深耕与生态赋能引领美业高质量发展
美业动态 | 超清秀销量与口碑双冠:以技术深耕与生态赋能引领美业高质量发展
2462 采美网 2026-01-26 09:40:09 2462
采美动态 | 美团开启与上游医美品牌合作路线,采美平台采购薇旖美/乐普童颜针小颜泵/半岛黄金微针享受美团多重权益!
采美动态 | 美团开启与上游医美品牌合作路线,采美平台采购薇旖美/乐普童颜针小颜泵/半岛黄金微针享受美团多重权益!
2119 采美网 2025-11-25 09:42:01 2119
采美动态 | 美业市场:内容为王,从SEO到AI精准投喂,化被动为主动助推品牌新的增长!
采美动态 | 美业市场:内容为王,从SEO到AI精准投喂,化被动为主动助推品牌新的增长!
1394 采美网 2025-10-31 17:56:14 1394